Six Rivers Charter School garden teaching area

The objective of this project is to transform an underutilized outdoor space at Six Rivers Charter High School into a teaching area to enhance student learning and engagement. The improvements made to this area provide additional seating and safer ground to walk upon. Team Banana Pirates are students in the Cal Poly Humboldt's Environmental Resources Engineering program class ENGR 215, Introduction to design, taught by Lonny Graftman. While developing and constructing this teaching area, team Banana Pirates worked closely with the staff at Six Rivers Charter High School to create an ideal space.


Background
Six Rivers Charter High School (SRCHS) is a charter school located in Arcata, California. Their students have shown high demand for a program that teaches garden-based learning available to grades 9-12. The school has an overgrown outdoor space available and wants to utilize that space as an area to teach garden curriculum to their students. Team Banana Pirates is a group of students in the Environmental Resources Engineering Program at Cal Poly Humboldt. For their ENGR 215: Introduction to Design class in Fall 2019, they have selected to come up with a creative solution to this problem at SRCHS.
Problem statement and criteria
Six Rivers Charter High School had an underutilized area that only the landscape class would use as part of their curriculum. Transforming this space would allow other types of classes to use the space to enhance student learning.
Criteria
Important specifications were made when speaking with staff at Six Rivers Charter High School. A list of criteria was created and weighted to ensure that all specifications can be met going forward with the outdoor teaching area.
| Criteria | Weight | Constraint |
|---|---|---|
| Safety | 10 | Free of tripping hazards and sharp edges |
| Capacity | 10 | Accommodate up to 35 students |
| Cost | 9 | Total project cost cannot exceed $400 |
| Mud Potential | 8 | Limit mud |
| Durability | 8 | Must last at least 6 years without significant damage |
| Maintenance | 8 | Maximum 4 hours of maintenance each month |
| Versatility | 7 | Can be used for different classes |
Description of final project
The final design of the outdoor teaching area includes four 9 foot long benches that can fit up to five students each. These benches were made from cedar wood and painted to protect them from different weather conditions. Two benches are placed in the upper area and two benches are placed in the lower area. A path to the upper area of seating was cleared and wood chips were placed across the entire area to prevent mud from being tracked back into the school. With this design, the teaching area is not able to seat an ample amount of students and is more accommodating to different types of classes.
Final project view: A view of the final completed area of the garden teaching area.
Final project view: A view of the final completed area of the garden teaching area.
Prototyping
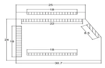
Team Banana Pirates produced multiple drawings on Auto CAD to better understand the space they were creating.



Costs
The total cost of completing the outdoor teaching area was $409.07. Over 150 hours of time was spent by the team Banana Pirate to complete the project. To help with the cost, The Mill Yard was willing to donate $190.19 worth of Cedar Wood.
| Quantity | Material | Source | Cost ($) | Total ($) |
|---|---|---|---|---|
| 308 | Feet of Cedar Wood 2x4 | The Mill Yard | 1.10 | 340.19 |
| 3 | Boxes of 8x2.5 screws | ACE Hardware | 13.65 | 40.95 |
| 1 | Gallon of Outdoor Paint | Ace Hardware | 27.93 | 27.93 |
| Many | Wood Chips | Side of Road | 0.00 | 0.00 |
| Total Cost | $409.07 | |||
How to build

Acquire approximately 308 feet of wood.

Have design ready.

Build benches according to plan.
Maintenance
The landscaping class at Six Rivers Charter High School will be responsible for some maintenance as part of their curriculum. To make sure that this area remains safe and usable, maintenance will need to be provided on a monthly basis.
Schedule
This provides information on when to maintain different aspects of the area.
- Monthly
- Weeding
- Raking Wood chips to keep ground level
- Estimated time is 2 hours per month
- Yearly
- Fill wood chips as needed
- Every 5 years
- Repaint benches to prevent weather damage
Instructions

Add wood chips as needed.

Pull weeds when they surface.

Add new layer of paint.
Troubleshooting
This is how to troubleshoot basic operation of the wood chips and the benches in the outdoor teaching area.
| Problem | Suggestion |
|---|---|
| Wood chips wash away | Add additional wood chips to the area |
| Paint on benches chip | Take bench out, paint area, and place back into ground once paint dries |
| Bench comes out of ground | Dig hole for bench legs, place the bench inside, weigh down with gravel and/or heavy rocks before adding dirt |
Discussion and next steps
In the design process, team Banana Pirates had thought through different bench styles as well as adding additional planter beds to the area. A next step for this area would be to add additional planter beds attached to the lower seating for educational purpose.
Suggestions for future changes
In the future, Six Rivers Charter High School may want to add a retention wall by the lower bench with pressure treated wood. This would help keep the wood chips and dirt from leaving the area during a heavy rainfall. As well as adding a retention wass, the benches could be secured permanently into the ground with cement so that they can create a more permanent teaching area.